公司要闻您当前所在位置:首页 > 公司要闻

【喜报】我公司荣获两项国家发明专利授权

更新时间:2026-04-03 12:13:00点击次数:208次字号:T|T

近日,洛阳水利勘测设计有限责任公司申报的一种含软弱夹层边坡加固装置及其方法一种钠基膨润土防水毯的铺设装置”成功获得国家发明专利授权。该两项专利由洛阳水利勘测设计有限责任公司202511月申请,历经多次技术审查及优化,于202623月正式过审获得授权



在水利水电与交通工程建设中,含软弱夹层的边坡是常见的重大安全隐患,软弱夹层强度低,易软化,常构成控制性滑移面,其治理是边坡工程的关键难题。本发明的目的是为了解决现有技术中加固措施协同性差,排水效率低,无法适应不均匀变形且缺乏有效预警手段的问题,而提出的一种含软弱夹层边坡加固装置及其方法。



与现有技术相比,本发明具备以下有益效果。一是实现了锚固与排水的协同工作,显著提高了结构的整体性与稳定性,克服了传统措施协同性差的弊端。二是能够高效降低孔隙水压力,从根本上改善软弱夹层的力学性能,解决了传统重力排水被动低效的问题。三是避免应力集中造成的局部破坏,实现低成本监测与预警提高了施工的便利性和场地的适应性。四是能在不停机的情况下,利用气压差自动清理吸水段内积聚的杂质,保证了深层排水系统的长期有效运行和可维护性。



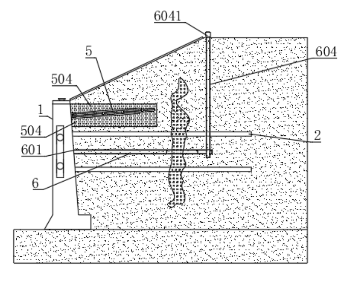
    钠基膨润土防水毯是一种以天然钠基膨润土为核心材料的高性能防渗材料,通过针刺法,胶粘法等工艺将膨润土颗粒固定在土工布复合层之间,形成兼具物理防护与化学防渗特性的屏障,被广泛应用于人工湖泊水景,垃圾填埋场,地下车库,楼顶花园,水池,油库及化学品堆场等防渗漏的土工合成材料。



与现有技术相比,本发明具备以下特点避免膨润土在下料箱内扎堆,提高与水的混合效果能够实现更加均匀的铺撒效果,避免膨润土到下层防水毯上后不均匀的问题发生在对具有一定坡度的坡面进行铺设时,可避免受重力影响而导致的膨润土在下料箱内某一侧堆积的问题。

      我公司将以此为契机,聚焦创新需求,持续延伸勘测设计链条,丰富知识产权矩阵,弘扬工匠精神,锚定精品意识,实现更高效益,助力高质量发展 

                                 2026-04-03